- Visto: 1435
Antenas de ranura
Son el negativo de las antenas de tubo o de cable.
Publicado con permiso de su autor: Luis A. del Molino, EA3OG
ANTENAS DE RANURA
Hace unos días, hablábamos en el Radio Club La Salle de cuál sería la antena más conveniente para instalar en un globo meteorológico que enviara imágenes hacia el suelo y en seguida me vino a la mente la idea de que lo más fácil sería colocar, en el fondo de una cestilla soportada por un globo, una antena de ranura. Consistiría en una raja recta de media longitud de onda realizada en una chapa metálica en forma de disco o de placa rectangular colocada en el fondo de un recipiente aislante. Fácil de hacer, fácil de colocar y fácil de acoplar, tal como pretendo demostrar a continuación.
Un dipolo en negativo
La antena de ranura se comporta simplemente como el negativo fotográfico de un conductor, en nuestro caso un dipolo. En la ranura todo funciona exactamente al revés, tal como podemos observar en las figuras 1 y 2.
Debe tener la misma longitud que un dipolo conductor, media onda, pero sus constantes vitales son exactamente las opuestas de las que tendría un dipolo en cada punto de la ranura.
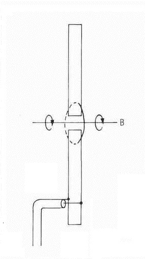
Veamos la figura 2: donde el dipolo tiene las máximas tensiones (en las puntas), la ranura resonante tiene las corrientes máximas en el metal situado en ambos extremos. Y donde el dipolo tiene la corriente máxima (en el centro), la ranura tiene la máxima tensión de RF, a los dos lados opuestos de la ranura. De esta guisa, la impedancia resistiva en la resonancia en media onda es máxima en el centro (recordemos la ley de Ohm (R = V/I) porque la corriente en los dos lados del centro de la ranura se acerca a cero.
Por tanto, la adaptación perfecta a un cable de 50 ohmios, en lugar de estar en el centro como en un dipolo, se encuentra muy cerca de los extremos de la ranura, aproximadamente a un 4-5-6 % del extremo de la ranura. Ahí debemos colocar el vivo y la malla de nuestro cable coaxial, tal como se ve en la figura 3.
Si quisiéramos adaptarla a un cable coaxial de 75 ohmios, no tendríamos más que deslizar la toma del coaxial ligeramente hacia arriba, y encontraríamos un punto en el que la antena se comporta como una resistencia de 75 ohmios.
El ancho de banda
El ancho de banda puede ser tan grande como queramos, pues dependerá de si aumentamos el ancho de la ranura, igual que el mayor ancho del cable o del tubo de aluminio aumenta el ancho de banda de un dipolo. La frecuencia máxima de resonancia nos viene dada por la longitud más corta AC, la dimensión lateral de la ranura, mientras que la frecuencia más baja nos viene dada por la longitud más larga BD, la diagonal, tal como se ve en la figura 4.
Una polarización diferente al dipolo
Como buena antena opuesta a un dipolo, la ranura horizontal radia con polarización vertical tal como se observa en la figura 5a. Ambos extremos generan campos magnéticos del mismo sentido porque las corrientes en los extremos tienen el mismo sentido, y las tensiones también tienen el mismo sentido a lo largo de toda la ranura horizontal, en este caso con polarización vertical.
En cuanto al diagrama de radiación acimutal que vemos en la figura 5b, obtenemos que se comporta exactamente igual que un dipolo, por lo que tiene también una ganancia isotrópica máxima de 2,1 dB en la dirección perpendicular a la ranura y al plano de la placa que lo contiene, en el espacio libre.
La ranura como doble U acoplada
Una imagen que nos proporciona simultáneamente todas las claves del comportamiento de una ranura nos la da su equivalencia a dos Us de 1/4 de longitud de onda unidas por sus extremos.
Como ya sabéis, o deberíais saber porque ya lo he comentado en la descripción de las antenas EndFed, las Us de 1/4 de onda se comportan como circuitos resonantes y permiten su utilización como adaptadores de impedancias, pues en sus extremos abiertos se presenta una gran impedancia que no llega a ser infinita, sino que se queda en superior a 1000 ohmios (2000 a 4000 O como más probable) y el extremo cortocircuitado nos permite encontrar en sus alrededores valores cercanos a los 50 ohmios. Esta propiedad se aplica también a la antena J que no deja de ser una EndFed con un adaptador en U de un cuarto de onda.
Pues si ahora os muestro dos Us unidas por sus extremos veréis que hemos conseguido una antena de ranura, tal como podréis comprobar en la figura 6.
Antena propuesta para 1296 MHz.
Por eso se me ocurrió que la antena que sería más fácil de realizar y colocar en el fondo de un soporte aislante, como una cestilla o una caja de porexpan, que será el recipiente más probable para que el globo transporte la electrónica a las alturas, podría ser una placa rectangular o un disco metálico, realizado ya sea en aluminio o en una placa de circuito impreso con la cara de cobre lista para insolar y que tenga unas dimensiones que permitan trazar una ranura de 11,5 centímetros, media longitud de onda para la banda de 23 cm o 1296 MHz, según se muestra en la figura 7.
Más ganancia y polarización circular
Más complicado parece conseguir algo de ganancia para esta antena. La idea consistiría combinar dos ranuras en paralelo colocadas a una distancia de λ/2 para conseguir una ganancia de 3 dB por apilamiento de antenas.
Además, podríamos colocar otras dos ranuras idénticas y formando un cuadro para conseguir una polarización circular y colocar las líneas de λ/4 respectivas para adaptar la impedancia y, luego, proporcionar mediante otra λ/4 el desfasado necesario para la polarización circular.
Esto complica el conexionado de las antenas, pero parece que valdría la pena toda esta complicación, porque permitiría eliminar el fading por la diferencia de polaridades lineales entre la antena emisora colocada en el globo y la receptora, fading que podría llegar hasta 20-30 dBs en ciertos instantes cuando las polarizaciones lineales emisora y receptora se cruzaran perpendicularmente entre sí. Aquí tenéis un posible conexionado en la figura 7b.
Se utilizan secciones de RG-59 de λ/4 (por el factor de velocidad) para elevar la impedancia desde 50 O a 100 O y permitir la conexión en paralelo de estos tramos para recuperar los 50 ohmios que se adapten a la bajada. La polarización circular se conseguiría mediante una sección de λ/4 de RG-58 para conseguir el desfase de 90º correspondiente a la polarización circular. Por supuesto todos los λ/4 deberían ser acortados por el factor de velocidad correspondiente a cada cable utilizado.
Habría que tener mucho cuidado con la dirección de giro de la polarización circular, porque según se mire de un lado u otro del plano en que están situadas de las ranuras, el giro será el opuesto y es fácil equivocarse. Para obtener una polarización circular a derechas, hay que mirar las ranuras por detrás para comprobar que primero se alimentan una pareja de ranuras y después (con la línea de retardo) se alimentan las otras dos ranuras perpendiculares, siguiendo el campo eléctrico el giro de las agujas del reloj.
Ranuras cortas alargadas
Para alargar eléctricamente una antena de ranura y hacerla resonar a una frecuencia más baja, debemos hacer lo opuesto que realizamos con un dipolo. Para alargar un dipolo, que físicamente sea más corto que media onda, recordemos que lo podemos conseguir añadiendo una inductancia intercalada en alguna parte del dipolo, generalmente en el centro. Si se trata de una vertical de un cuarto de onda, podemos alargarla añadiendo una bobina en la base.
Pues en una antena de ranura, nos basta añadir un condensador en el centro, en paralelo con el centro de la ranura, para alargarla eléctricamente y sintonizarla a una frecuencia más baja,, como se observa en la figura 8. Y lo que es más cómodo: si colocamos un condensador variable, podremos sintonizarla a voluntad, buscando la resonancia óptima muy cómodamente, según se ve en la figura 8b.
|
|
Antena de tambor
Hace ya unos cuantos años disponía de una antena Halo para 2 metros y se me ocurrió que sería muy fácil realizar la imagen en ranura de una antena Halo, así que estuve buscando un soporte adecuado y encontré un recipiente cilíndrico de madera de 33 cm de diámetro y unos 40 cm de altura que había contenido unos polvos, pero no me preguntéis cuáles eran.
La cuestión es que el perímetro del cilindro, multiplicando el diámetro por p, era de unos 103 cm, perfecto para recubrirlo con papel de aluminio de envolver bocatas y cortarle una ranura de 1 metro. Preparé un conector hembra de PL (SO239) con 2 hilitos que, una vez pelados, sujeté con cinta aislante cerca de uno de los extremos de la ranura y ya tuve una antena de sobremesa de ranura, que se me ocurrió llamarla antena de tambor, porque también se puede utilizar para estos menesteres percusionistas. El resultado lo tenéis en la figura 9. Por cierto que radia omnidireccional y con polarización vertical, aunque no lo parezca.
Antena DDRR
Una antena de la que tal vez hayáis oído hablar alguna vez es la DDRR de Direct Double Ring Radiator, que consta de dos anillos superpuestos (Figura 10). Si la colocamos al lado de la figura 9, veréis inmediatamente que se trata de una antena de ranura realizada con tubos de cobre. Así que se me ocurrió realizar con tubo de cobre una DDRR para dos metros, algo más pequeña de diámetro, colocando un condensador variable en el lado opuesto para alargarla, de modo que, al mismo tiempo, me servía para soportar los dos anillos. Una perfecta antena de sobremesa. Por cierto, que radia también con polarización vertical como la de tambor.
Un cuarto de DDRR
Si cortáis la antena DDRR por un plano horizontal y también por un plano vertical, descubriréis otra extraña antena que aparece en los libros, pues también es una antena de ranura sintonizada por medio de un condensador y, por tanto, radia con polarización vertical.
El resultado lo tenéis en la figura 11. Por lo visto es muy frecuente su utilización en aplicaciones militares, aunque yo no la haya visto nunca utilizada en la realidad.
Antenas de cilindro
Las ranuras permiten conseguir antenas omnidireccionales de polarización horizontal con tan solo realizarlas en cilindros de aluminio como los que se muestran en las figuras 12 y 13. Yo he utilizado con éxito una fabricada en aluminio por CAB RADAR que podéis ver en la figura 13 y funcionaba perfectamente en 2 metros. Finalmente la desmonté porque silbaba con un ulular muy apreciable y entraba en resonancia cuando hacía mucho viento . La cambié por una colineal normal y corriente.
Colineales de ranura
Hablando de colineales, es muy fácil realizar colineales de ranura, basta con alimentarlas en fase como se muestra en la figura 14. Pero si están alineadas, ni siquiera eso es necesario, porque basta con alimentar una de ellas como se demuestra en la figura 15, puesto que el campo magnético generado por la ranura inferior, excita también la ranura superior y las conecta magnéticamente. Esto seguramente doblará la corriente en el centro de la antena y puede que baje la impedancia donde teníamos los 50 ohmios, por lo que habría que mover la toma algo más arriba de la ranura inferior para recuperar la buena adaptación.
Papel de aluminio de envolver
También he realizado antenas de ranura para 2 metros (1 metro de ranura) sobre papel de aluminio y las probé colocándolas en puertas y ventanas, pero a mi esposa no le gustaron nada mis inventos y tuve que quitarlas enseguida. Tal vez vosotros tengáis más suerte.
73 Luis EA3OG














